Pininfarina Bluecar: una vera auto elettrica per tutte le tasche

Da quando hanno scoperto che l'ecologia può essere una spinta alle vendite di prodotti color…

Ancora usate Internet Exploer 6? Aggiornatelo per beneficenza!

Nonostante la continua evoluzione e la concorrenza sempre più serrata tra i browser, una fetta…

In arrivo un inverno caldo, nel mercato dei browser

Che ne pensate della fruizione di contenuti in streaming, del cloud computing e del social…

Pagare Windows per cancellarlo al primo avvio del sistema

Ho acquistato un netbook, da usare prevalentemente col browser aperto, magari con un software di…

Spotify: ascolta tutta la musica che vuoi, gratis

Spotify è un giovane (e beta) servizio che è entrato nel mercato statunitense dei contenuti…

Nikon farà concorrenza alle Micro Quattro Terzi?

L'articolo è prudentemente titolato con un punto di domanda alla fine, ma le intenzione della…

Facebook usa la tua faccia nelle inserzioni pubblicitarie

La crescita di Facebook è inarrestabile. Sarà merito della qualità del servizio offerto o magari…

Il netbook secondo AMD

Da quando Asus ha aperto le porte su un mondo presentando il suo primo EeePC,…

Metà insetto, metà robot

Vi ricordate l'inquietante scenario di Quake 2, in cui i soldati umani venivano trasformati tra…

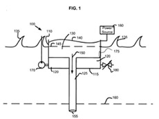
Bill Gates si è messo in testa di fermare gli uragani

Sappiamo tutti chi è Bill Gates, abituati come siamo stati a vederlo occuparsi di software…