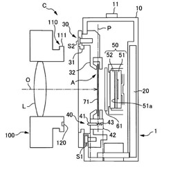
Nikon farà concorrenza alle Micro Quattro Terzi?

L'articolo è prudentemente titolato con un punto di domanda alla fine, ma le intenzione della…

Non vi bastavano 36 Megapixel? eccone 261!

Spero vivamente che qualcuno di voi conosca Red, la casa di produzione di fotocamere e…

1996: la Nikon ci prova con il digitale

Ieri sera, passando da una pagina web ad un’altra, mi sono imbattuto in un oggetto…