
All’ufficio brevetti statunitense, Google ha depositato l’idea del data center galleggiante. Non è la mancanza di spazio sul suolo americano che preoccupa il gigante californiano: il bello di questo approccio è rivelarsi energeticamente efficiente e con emissioni zero.
Google è impegnata sul fronte energetico già su molti fronti: sta lavorando alla produzione energetica dal geotermico , dall’eolico e dal solare termodinamico, e con questo brevetto mette le mani anche sull’acqua del mare.
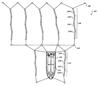
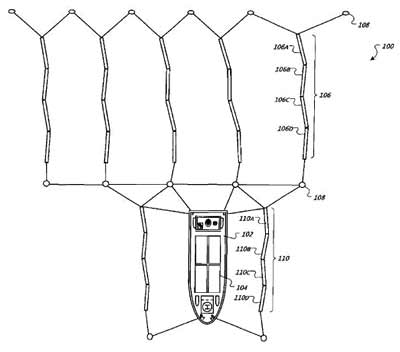
Il data center è composto, come anche intuibile dalla figura, da una piattaforma principale, su cui trova posto la struttura che contiene il centro di elaborazione vero e proprio, tutto intorno sono presenti degli enormi serpentoni, che traggono energia dalle onde del mare.
Così come con il solare termodinamico, “scopiazzato” da un’idea tutta italiana, anche in questo caso per produrre energia si punterà su una soluzione già collaudata e già nota ai lettori del blog: il Pelamis Wave Energy Converter.
Oltre ad essere alimentato con energia rinnovabile e senza emissioni di CO2 nell’atmosfera, il complesso potrà vantare una migliore efficienza energetica rispetto ai suoi simili con le fondamenta incassate nella terra ferma.
Gli elaboratori producono una grande quantità di calore, e l’edificio che li ospita, per massimizzare l’affidabilità dei sistemi, necessita del mantenimento di temperatura e umidità interni costanti nel tempo. Questo si traduce con un massiccio utilizzo di sistemi di condizionamento dell’aria con un enorme dispendio di energia.
Il data center galleggiante potrà utilizzare l’acqua del mare, per portare refrigerio all’interno dell’edificio, attraverso scambiatori di calore, semplicemente tramite l’utilizzo di pompe idrauliche, con un risparmio molto importante in termini energetici.
Negli ultimi anni le aziende con grandi potenze di calcolo installate, Google in prima linea, hanno chiesto ai chipmaker sforzi per aumentare l’efficienza delle CPU, nel rapporto tra potenza di calcolo e consumi elettrici, per far fronte a un aumento di consumi che potrebbe diventare insostenibile in poco tempo.
Intel ha risposto prontamente all’appello abbandonando l’architettura netburst e seguendo AMD nella moltiplicazione dei core. Tuttavia i moderni centri di calcolo sono ancora ben lontani dal poter essere definiti sostenibili, e urgono nuove soluzioni per risparmiare denaro, energia ed emissioni: in quest’ottica l’idea di Google sembra senz’altro interessante.
via | engadget.com
